溫馨提示
寧波日昕動力科技有限公司建立了一套完整的沃爾沃柴油機、柴油發電機零配件供應體系,全天候快速響應,純正的沃爾沃柴油機、柴油發電機配件是您最佳的選擇,因為您所得到的是延長沃爾沃柴油機、柴油發電機動力系統壽命的最佳保證。
網頁中公布的沃爾沃柴油機、柴油發電機發動機配件號與圖片僅為參考,因沃爾沃柴油機、柴油發電機動力系統零配件型號與技術參數太多,沒能全部展示,如有配件與維修技術資料方面的需求,請與本司的在線客服溝通與交流,希望我們能夠幫您節約更多等待備件時間和維修技術方面的困難。
特別聲明:我司只銷售沃爾沃柴油機、柴油發電機原廠配件,需付廠或防品件請繞道,謝謝。
瑞典富豪沃爾沃全系列產品型號有:TD520GE,TAD520G,TD610G,TWD610G,TWD610V,TWD630,TD640,TD710G,TWD710G,TWD710V,TD720G,TAD720G,
TD730G,TAD730G,TAD740G,TWD740G,TD1000G,TD1010G,TWD1010G,TD102,TAD1030G,TD121G,TWD1210V,
TWD1211V,TWD1230VE,TAD1230V,TWD1210G,TWD1211G,TAD1230G,TAD1231G,TAD1232G,TWD1240V,TAD1241G,
TAD1241V,TAD1242G,TWD1630VE,TAD1630G,TAD1631VE,TAD1631G,TAD1642G。

沃爾沃TAD740GE TWD740GE柴油機、發電機維修保養濾清器配件型號查詢服務
|
TAD740GE |
Oil filter |
機油濾清器 |
466634 |
1 |
|
Oil filter, by pass |
機油濾清器,旁通 |
477556 |
1 | |
|
Fuel filter |
燃油濾清器 |
3825133 |
2 | |
|
Fuel filter, water separator |
燃油濾清器,油水分離器 |
8159975 |
1 | |
|
Air filter |
空氣濾清器 |
3827589 |
1 | |
|
Drive belt kit, alternator |
皮帶,充發電機 |
9146899 |
1 | |
|
VP lubrication oil |
專用發動機機油 |
VDS-2(18L) |
2 | |
|
TWD740VE |
Oil filter |
機油濾清器 |
466634 |
1 |
|
Oil filter, by pass |
機油濾清器,旁通 |
477556 |
1 | |
|
Fuel filter |
燃油濾清器 |
3825133 |
2 |

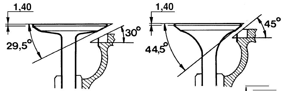
配氣機構
氣門
氣門頭直徑:
進氣門. . . . . . . . . . . . . . . . . . . . . . . . . . . . . . . . . . . . . . . . . . . . . . . . . . . . . . . . . . . . . . . . 47 ± 0.1 mm
排氣門. . . . . . . . . . . . . . . . . . . . . . . . . . . . . . . . . . . . . . . . . . . . . . . . . . . . . . . . . . . . . . . . 45 ± 0.1 mm
氣門桿直徑:
進氣門. . . . . . . . . . . . . . . . . . . . . . . . . . . . . . . . . . . . . . . . . . . . . . . . . . . . . . . . . . . . . . . . . . . 9.5 mm
排氣門. . . . . . . . . . . . . . . . . . . . . . . . . . . . . . . . . . . . . . . . . . . . . . . . . . . . . . . . . . . . . . . . . . . 9.5 mm
氣門座角度:
進氣門. . . . . . . . . . . . . . . . . . . . . . . . . . . . . . . . . . . . . . . . . . . . . . . . . . . . . . . . . . . . . . . . . . . . . 29,5°
排氣門. . . . . . . . . . . . . . . . . . . . . . . . . . . . . . . . . . . . . . . . . . . . . . . . . . . . . . . . . . . . . . . . . . . . . 44,5°
氣門頭邊緣:
進氣門(新氣門) . . . . . . . . . . . . . . . . . . . . . . . . . . . . . . . . . . . . . . . . . . . . . . . . . . . . . . . 2.9 ± 0.1 mm
排氣門(新氣門) . . . . . . . . . . . . . . . . . . . . . . . . . . . . . . . . . . . . . . . . . . . . . . . . . . . . . . . 2.7 ± 0.1 mm
缸蓋上的氣門座角度:
進氣門. . . . . . . . . . . . . . . . . . . . . . . . . . . . . . . . . . . . . . . . . . . . . . . . . . . . . . . . . . . . . . . . . . . . . . 30°
排氣門. . . . . . . . . . . . . . . . . . . . . . . . . . . . . . . . . . . . . . . . . . . . . . . . . . . . . . . . . . . . . . . . . . . . . . 45°
冷態發動機氣門間隙設定值:
進氣門. . . . . . . . . . . . . . . . . . . . . . . . . . . . . . . . . . . . . . . . . . . . . . . . . . . . . . . . . . . . . . . . . . 0.30 mm
排氣門. . . . . . . . . . . . . . . . . . . . . . . . . . . . . . . . . . . . . . . . . . . . . . . . . . . . . . . . . . . . . . . . . . 0.60 mm
冷態發動機氣門間隙參考設定值:
進氣門. . . . . . . . . . . . . . . . . . . . . . . . . . . . . . . . . . . . . . . . . . . . . . . . . . . . . . . . . . . . . 0.35—0.35 mm
排氣門. . . . . . . . . . . . . . . . . . . . . . . . . . . . . . . . . . . . . . . . . . . . . . . . . . . . . . . . . . . . . 0.55—0.65 mm

422856,沃爾沃增壓器3525994,沃爾沃增壓器470509,沃爾沃增壓器3526008,沃爾沃增壓器424778,沃爾沃增壓器3526465,沃爾沃增壓器470387,沃爾沃增壓器3526963,沃爾沃增壓器424819,沃爾沃增壓器3526967,沃爾沃增壓器1556163,沃爾沃增壓器3530641,沃爾沃增壓器865065,沃爾沃增壓器3530879,沃爾沃增壓器865752,沃爾沃增壓器