溫馨提示
寧波日昕動力科技有限公司建立了一套完整的沃爾沃TAD1241GE柴油機、柴油發電機零配件供應體系,全天候快速響應,純正的沃爾沃柴油機、柴油發電機配件是您最佳的選擇,因為您所得到的是延長沃爾沃柴油機、柴油發電機動力系統壽命的最佳保證。
網頁中公布的沃爾沃TAD1241GE柴油機、柴油發電機發動機配件號與圖片僅為參考,因沃爾沃TAD1241GE柴油機、柴油發電機動力系統零配件型號與技術參數太多,沒能全部展示,如有配件與維修技術資料方面的需求,請與本司的在線客服溝通與交流,希望我們能夠幫您節約更多等待備件時間和維修技術方面的困難。
特別聲明:我司只銷售沃爾沃TAD1241GE柴油機、柴油發電機原廠配件,需付廠或防品件請繞道,謝謝。
瑞典富豪沃爾沃全系列產品型號有:TD520GE,TAD520G,TD610G,TWD610G,TWD610V,TWD630,TD640,TD710G,TWD710G,TWD710V,TD720G,TAD720G,
TD730G,TAD730G,TAD740G,TWD740G,TD1000G,TD1010G,TWD1010G,TD102,TAD1030G,TD121G,TWD1210V,
TWD1211V,TWD1230VE,TAD1230V,TWD1210G,TWD1211G,TAD1230G,TAD1231G,TAD1232G,TWD1240V,TAD1241G,
TAD1241V,TAD1242G,TWD1630VE,TAD1630G,TAD1631VE,TAD1631G,TAD1642G。

沃爾沃TAD1241GE發動機、發電機氣缸頭配件型號清單

|
# |
Part no |
Qty |
Description |
|
1 |
3803667 |
1 |
Cylinder head |
|
Including valves., (3586779) | |||
|
2 |
3165130 |
1 |
Bearing housing, front |
|
Included in overhaul kit 3165309. | |||
|
2 |
3165133 |
5 |
Bearing housing, middle |
|
Included in overhaul kit 3165309. | |||
|
2 |
3165136 |
1 |
Bearing housing, rear |
|
Included in overhaul kit 3165309. | |||
|
3 |
950542 |
14 |
Pin |
|
4 |
8170626 |
7 |
Flange screw |
|
5 |
1547889 |
14 |
Flange screw |
|
L=127mm | |||
|
6 |
1547888 |
1 |
Flange screw |
|
L=106mm | |||
|
7 |
1677283 |
6 |
Flange screw |
|
L=70mm | |||
|
8 |
1546437 |
24 |
Valve guide |
|
SN-303403 | |||
|
8 |
20817645 |
24 |
Valve guide |
|
SN303404-, (3165303) | |||
|
9 |
3183227 |
12 |
Valve seat, intake |
|
Std SN-303403 | |||
|
9 |
3183228 |
12 |
Valve seat |
|
O.S=0,20mm | |||
|
9 |
20459329 |
12 |
Valve seat, intake |
|
Std SN303404- | |||
|
9 |
20459332 |
12 |
Valve seat |
|
O.S=0,20mm | |||
|
10 |
3165369 |
12 |
Valve seat, exhaust |
|
Std SN-303403 | |||
|
10 |
3165397 |
12 |
Valve seat |
|
O.S=0,20mm | |||
|
10 |
3169366 |
12 |
Valve seat, exhaust |
|
Std SN303404- | |||
|
10 |
20411979 |
12 |
Valve seat |
|
O.S=0,20mm | |||
|
11 |
85104134 |
6 |
Copper sleeve kit |
|
-85104134 | |||
|
12 |
20536487 |
6 |
O-ring |
|
-3165747 | |||
|
13 |
968062 |
2 |
Plug |
|
14 |
422426 |
1 |
Pin |
|
15 |
20441335 |
1 |
Plug |
|
16 |
8170553 |
1 |
Expansion plug |
|
17 |
3165025 |
12 |
Plug |
|
18 |
949659 |
12 |
O-ring |
|
19 |
20463179 |
1 |
Adapter |
|
20 |
949721 |
2 |
O-ring |
|
21 |
1544710 |
1 |
Sealing ring |
|
22 |
21345131 |
38 |
Flange screw |
|
23 |
21344784 |
9 |
Stud |
|
24 |
20545669 |
1 |
Valve cover |
|
Without oil filler cap | |||
|
24 |
8170115 |
1 |
Valve cover |
|
With oil filler cap, Repl by 20545669 | |||
|
25 |
20807510 |
1 |
Oil filler cap |
|
-1675839 | |||
|
26 |
1675841 |
1 |
Gasket |
|
27 |
21070576 |
1 |
Sealing strip |
|
28 |
3964604 |
16 |
Bushing |
|
29 |
8148488 |
16 |
Cap nut |
|
30 |
3099100 |
1 |
Cylinder head gasket, cylinder head |
|
31 |
20489341 |
1 |
Seal |
|
32 |
3828003 |
1 |
Cap |
|
33 |
946440 |
2 |
Flange screw |
|
34 |
3826657 |
1 |
Lifting eye |
|
35 |
959265 |
3 |
Hex. socket screw |
|
36 |
940280 |
3 |
Spring washer |
|
37 |
950562 |
14 |
Pin |
|
Included in overhaul kit 3165309. | |||
|
38 |
3830718 |
1 |
Gasket kit |
|
See group 99 | |||
|
38 |
3165309 |
1 |
Bearing housing |
|
See group 99 | |||
|
39 |
8131707 |
11 |
Cap plug |
|
40 |
947281 |
1 |
Gasket |

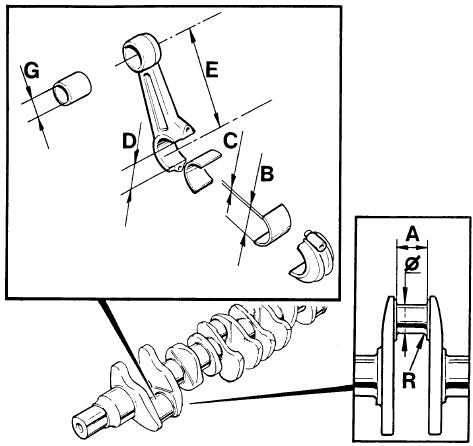
連桿
長度中心- 中心(E) . . . . . . . . . . . . . . . . . . . . . . . . . . . . . . . . . . . . . . . . . . . . . . . . . . . . . . . . . . . . . 286 mm
標記:
分別為連桿和連桿蓋. . . . . . . . . . . . . . . . . . . . . . . . . . . . . . . . . . . . . . . . . . . . . . . . . . . . . . . . . . . 從1到6
連桿上的〝FRONT〞已經轉動. . . . . . . . . . . . . . . . . . . . . . . . . . . . . . . . . . . . . . . . . . . . . . . . . . . . . 向前
活塞銷襯套軸承座(F)的直徑. . . . . . . . . . . . . . . . . . . . . . . . . . . . . . . . . . . . . . . . . . . . . . 65.3+0.046–0 mm
活塞銷襯套內徑(G) . . . . . . . . . . . . . . . . . . . . . . . . . . . . . . . . . . . . . . . . . . . . . . . . . . . . 60+0.028–0.022 mm
連桿-曲軸軸向間隙. . . . . . . . . . . . . . . . . . . . . . . . . . . . . . . . . . . . . . . . . . . . . . . . . . . . 0.15 — 0.35 mm
大端軸承徑向間隙. . . . . . . . . . . . . . . . . . . . . . . . . . . . . . . . . . . . . . . . . . . . . . . . . . . . . . . . . . 0.128 mm
沃爾沃柴油泵電磁閥,沃爾沃原廠油泵執行器881969,沃爾沃原廠油泵執行器,沃爾沃D7C發動機風扇葉,沃爾沃重卡D13發動機活塞,沃爾沃D13發動機缸蓋,沃爾沃D13發動機曲軸,主軸瓦270449沃爾沃,沃爾沃增壓器修理包,沃爾沃增壓器,沃爾沃噴油器彈簧,沃爾沃噴油器,沃爾沃燃油橡膠軟管,沃爾沃柴油連接管,沃爾沃氣門鎖片,沃爾沃氣門,沃爾沃氣門彈簧,沃爾沃進氣門彈簧,沃爾沃排氣門彈簧,沃爾沃凸輪軸瓦,沃爾沃凸輪軸,沃爾沃增壓器修理包,沃爾沃柴油連接管,沃爾沃進氣門彈簧,沃爾沃排氣門彈簧,沃爾沃凸輪軸瓦主軸瓦,沃爾沃氣門鎖片,沃爾沃柴油發動機配件,沃爾沃船舶螺旋漿,