柴油發動機高壓共軌CP1H高壓油泵

CP2燃油系統

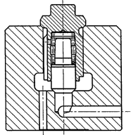
CP2高壓泵
油泵總成由以下幾個功能單元緊湊的安裝在泵體上:
……輸油泵
……FUM(燃油計量單元)
……油泵

Perkins2306柴油濾清器,Perkins 2806柴油濾清器,Perkins3008柴油濾清器,Perkins3012柴油濾清器,Perkins4006柴油濾清器,Perkins4008柴油濾清器,Perkins4012柴油濾清器,Perkins4016柴油濾清器,
柴油發動機高壓共軌FMU燃油計量單元
①燃油從輸油泵經過節流孔流到壓力腔里,當燃油壓力超過彈簧力時,節流閥被向上推起。
②節流閥向上移動,當節流閥的環肩打開燃油通道時,燃油被輸送到進出油閥
③ECU控制電磁閥以便于最佳燃油量從燃油計量單元流到進出油閥
④當電磁閥A和B根據來自ECU的信號被賦予了電壓后,壓力腔側回油通道打開了,在壓力腔的的油從側回油通道流出。
⑤ 壓力腔的壓力下降,節流閥由于彈簧力下降,對燃油通道A節流(節流調整方法)。
⑥因為ECU控制電磁閥A和B通電的時間(如:占空比),最佳燃油量就被提供到進出油閥.

CP2.2燃油系統

CP2.2高壓泵

I/O 閥
以前的設計 (死容積 = 900mm3)

2 體型 (死容積 = 600mm3)

Perkins柴油濾清器,英國Perkins發動機、柴油發電機柴油濾清器,英國Perkins發動機柴油濾清器維修保養,Perkins發動機柴油濾清器服務商,