5. 韓國斗山大宇發動機主要部件的維修(Maintenance of Major Components)
5.1. 冷卻系統(Cooling System)
5.1.1. 概述和主要數據(General descriptions and main data)
� 這是一種水冷型發動機。燃燒室產生的熱量和發動機油產生的熱量由冷卻液冷卻并排到外面,使發動機可以正常運轉。
� 查看冷卻系統的內部,水泵環繞著機油冷卻器循環將水抽起來,通過水管吸收油料的熱量,然后流過氣缸體的水套和氣缸蓋的水道,吸收燃燒室的熱量。

� 吸收了油料的熱量和燃燒室的熱量的水通過水管流到節溫器,當水溫低于節溫器的
閥門打開溫度時,水就會循環到水泵;而水溫高于閥門打開溫度時,水就會循環到散熱器。在散熱器中,冷卻液吸收的熱量散發出去,待冷卻液冷卻以后循環回水泵。
5.1.2. 規格(Specification)

5.1.3. 節溫器(Thermostat)
� 概述和主要數據
節 溫 器 保 持 冷 卻 液 的 固 定 溫 度 在(90∼95°C)并通過防止熱量損失來提高發動機熱效率。即當冷卻液溫度低時,節溫器閥門被關閉以使得冷卻液經旁路直接進入水泵。當冷卻液溫度升高到打開節溫器閥門時的溫度, 旁路被關閉,通住散熱器的水道被打開以便冷卻液受壓流入散熱器。


� 檢查
(1) 檢查蠟丸和彈簧有無損壞。
(2) 將節溫器放入水容器,然后緩慢加熱水并用溫度計檢查溫度。如果在83°C 的溫度時閥門升程是0.1mm(開始打開),在95 °C 的溫度時閥門升程是8mm或更大(全開),節溫器是正常的。

� 更換節溫器和處理的預防措施
(1) 處理的預防措施
蠟丸式節溫器對于冷卻液溫度波動不如風箱式節溫器反應迅速。這種相對緩慢的反應主要是由于蠟丸式節溫器的熱容量大。因此,為避免冷卻液溫度急劇止升,在運行發動機之前保持足夠的怠速是十分必要的。在寒冷的氣候下,不要在過載情況下運行發動機或起動后立即超速運行。
(2) 排放或補充冷卻液時,緩慢操作以便空氣從整個冷卻系統中徹底流出。
(3) 節溫器的更換如果發現節溫器有缺陷,更替新的節溫器。
5.1.4 診斷與發現并修理故障(Diagnostics and troubleshooting)
1. 發動機過熱� 缺少冷卻液� 補充冷卻液
� 散熱器蓋壓力閥彈簧變弱� 更換蓋
� 風扇皮帶松弛或破裂� 調整或更換風扇皮帶
� 風扇皮帶被油污染� 更換風扇皮帶
� 節溫器失去功能� 更換節溫器
� 冷卻水泵不良修理或更換
� 由于水道中水垢沉積而受阻
� 清理散熱器和水道
� 噴射正時錯誤� 利用 SCAN-200 檢查噴射正時
� 散熱器芯受阻� 清理散熱器外部
� 由于氣缸蓋襯墊破損氣體泄漏至水套
� 更換氣缸蓋襯墊
2. 發動機過冷� 節溫器失去功能� 更換節溫器
� 周圍溫度太低� 安裝散熱器檔板
3. 缺少冷卻液� 散熱器泄漏� 修理或更換
� 散熱器軟管連接松弛或損壞
� 重新擰緊夾鉗或更換軟管
� 散熱器蓋閥彈簧變弱� 更換蓋
� 冷卻水泵泄漏� 修理或更換
� 加熱器軟管連接松弛或破損
� 擰緊或更換軟管
� 氣缸蓋襯墊泄漏� 更換氣缸蓋襯墊
� 氣缸蓋或氣缸體破裂� 更換氣缸蓋或氣缸體
4. 冷卻系統有雜音� 冷卻水泵軸承不良� 更換軸承
� 風扇安裝松弛或彎曲� 重新擰緊或更換風扇
� 風扇失去平衡� 更換風扇
� 風扇皮帶不良� 更換風扇皮帶
5.2. 潤滑系統(Lubricating System)
5.2.1. 總體描述與主要數據(General descriptions and main data)
� 總述
所有的齒輪型油泵的油底殼上的發動機油都經過機油冷卻器和機油濾清器的過濾,
經過過濾的油經主油管道進入氣缸體,再從那里分配到各個零件和燃油噴射泵,以
保證發動機的正常運轉。
� 規格

5.2.2. 機油泵(Oil pump)
� 拆卸
(1) 拆卸機油泵傳動齒輪
a. 擰松螺桿拆下機油安全閥。
b. 打開機油泵傳動齒輪固定螺母墊圈,取下螺母。
c. 拆下傳動齒輪。
(2) 取下機油泵蓋固定螺母,拆下機油泵蓋。機油泵蓋與兩個定位銷固定在一起。
(3) 拆下主動齒輪和從動齒輪。

� 檢查和修理
(1) 用鋼尺和厚薄規測量機油泵齒輪軸向間隙。如果測量值超過極限請更換。軸向間隙限定 0.055∼0.105mm

(2) 使用厚薄規測量機油泵主動齒輪與從動齒輪間隙。如果測量值超過極限請更換。
齒隙極限 0.50 ∼ 0.64 mm

(3) 測量主動軸和軸套間隙
a. 測量主動軸和從動軸外直徑,如果測量值小于極限請更換。
標準 φ16.95∼φ16.968 mm,極限 φ16.95mm
b. 測量機油泵體軸套內直徑以確定軸套與軸之間間隙。比較標準值與測量值確定是否更換。
油隙 0.075 ~ 0.127 mm
� 重新組裝
(1) 如果要重新組裝,可以按照拆卸的相反順序進行。
5.2.3. 診斷與故障排除(Diagnostics and troubleshooting)
故障 可能的原因 維修
� 缺油 � 使用建議的機油
� 油封或包裝泄漏� 更換
� 活塞或活塞環損壞� 更換活塞和/或活塞環
� 氣缸套損壞� 更換氣缸套
� 活塞環粘連� 更換活塞和/或活塞環
1. 機油消耗過量
� 氣門導管油密封或氣門導管或氣門桿損壞
� 更換
� 缺油 � 使用建議的機油
� 安全閥粘連� 更換
� 在機油泵濾網中受阻礙� 清理濾網
� 油泵齒輪損壞� 更換
� 機油泵給油導管破裂� 更換
� 機油泵有缺陷� 維修或更換
� 機油壓力表有缺陷� 維修或更換機油壓力過低
� 各種軸承磨損� 更換
2. 機油迅速變質 � 在機油濾清器中受阻礙 � 更換濾清器元件
� 氣體泄漏 � 更換活塞環和氣缸套
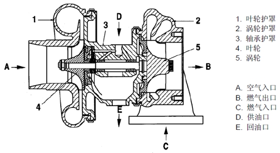
5.3. 渦輪增壓器(Turbocharger)
5.3.1. 規格和構造(Specification and construction)
1) 主要的數據和規格(Main data and specifications)

2) 操作原理(Operating principle)

3) 結構(Construction)

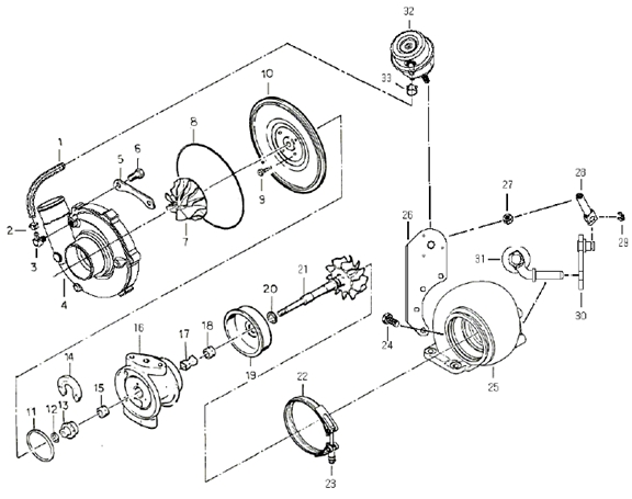
4) 韓國斗山大宇發動機渦輪增壓器部件(Components of turbocharger)
� 確保維修工作由Honeywell 公司授權的專業維修點執行。

1 軟管12 活塞環23 六角螺母
2 軟管夾13 止推軸環24 六角螺栓
3 連接器14 止推軸承25 渦輪機架
4 壓縮機罩15 軸頸軸承26 執行器支架
5 夾子、壓縮機16 中心機架27 六角螺栓
6 六角螺栓17 軸承墊28 桿
7 壓縮機輪18 軸頸軸承29 保持環
8 O 型環19 葉輪護罩30 曲軸總成
9 六角螺栓20 活塞環31 搖臂氣門總成
10 蓋板21 渦輪機葉輪總成32 執行器
11 密封環22 V 型夾33 軟管夾
5.3.2. 韓國斗山大宇發動機概述(General information)
發動機的輸出由燃油的供應量和發動機的效率決定。
為了將經過充分燃燒的燃料轉換成發動機的有效功率,要向氣缸內提供足以燃燒燃料的空氣。因此,發動機的輸出基本上是由氣缸的大小決定的,如果空氣壓縮后供到特定容量的氣缸,氣缸中空氣量會增加,從而就可能燃燒更多的燃料,同時輸出也能增加。這樣,通過壓縮向發動機氣缸內供氣就是所謂的超載料,通過向大氣中排放廢氣的方法進行超載料就是所謂的渦輪增壓。
5.3.3. 韓國斗山大宇發動機功能(Functions)
1) 韓國斗山大宇發動機渦輪(Turbine)
從燃燒室排除的廢氣通過渦輪機架將能量傳到渦輪葉片提供旋轉的動力。這就是所謂的渦輪,為了不對軸承部件產生不利影響,配有密封環和熱量保護裝置。
2) 韓國斗山大宇發動機壓縮機(Compressor)
壓縮機和渦輪機與相同的軸連接形成一個旋轉組件,并且受到渦輪機旋轉力,通過吸入和壓縮將空氣輸送到吸入歧管。這就是所謂的壓縮機。
3) 韓國斗山大宇發動機軸承(Bearings)
(1) 止推軸承在渦輪上施加止推軸承力并進行分配使軸不發生移動。
(2) 頸向軸承采用頸向軸承(浮動軸承),與普通靜止型相比較它可在內外表面形成油膜,這
樣軸承可以獨立旋轉,因而雙層的油膜可以起到抑制的作用,使軸承表面的滑動速度小于軸的轉動速度,這樣可以達到動態穩定。
4) 韓國斗山大宇發動機壓縮機軸的密封(Sealing at compressor shaft)
為了使壓縮的進氣和潤滑油不發生泄漏,密封板和密封環形成雙重結構。
5.3.4. 如何操作發動機(How to handle the engine)
1) 發動機操作注意事項(Precautions for operation of the engine)
當起動、運行或者停止發動機時,必須遵照以下注意事項:
操作 注意事項 原因
1) 檢查油量
2) 必須在通過起動機完全起動發動機,確認機油壓力升高后,才能起動(直到機油壓力表的指針移動或壓力顯示燈打開)。
2) 如果發動機迅速起動,當然是從發動機的每個部件開始,因為沒有油而空轉到達渦輪增壓器,會造成軸承異常磨損或卡住。起動發動機時
3) 在油、油濾清器和潤滑系統的部件更換或發動機長時間停轉的情況下(超過一周),以及在低溫天氣運行的情況下,旋松渦輪增壓器入口油管道的連接部件,直到有油從連接部件流出。注意在確認上述情況后,重新緊固管道連接部件并進行正常起動。
3) 在發動機長時間停轉和低溫天氣運轉的情況,液體的流動性會很差。
1) 發動機起動后,立即進行5 分鐘空轉。
1) 發動機起動后以及在渦輪增壓器還沒有達到平穩運轉的狀態,突然增加負荷,如果突然的負荷施加到發動機上,一些油還沒到達的部件會被燒熱而造成卡塞。發動機剛剛起動時
2) 必須進行各種檢查,確保無漏油、漏氣。
2) 如果有漏油、漏氣,尤其是漏油,因為機油壓力低,會造成軸承燒熱而阻塞。
191 主要部件的維修
操作 注意事項 原因檢查以下項目:
1) 機油壓力
空轉:1.0 ~ 3.0 kg/cm2
滿載:3.0 ~ 5.5 kg/cm2
1) 如果壓力太低,可能發生異常磨損和卡塞。如果壓力太高,可能發生操作過程中 漏油。
2) 當有異常的噪音和振動產生時,減慢轉速并調查原因。
2) 如果發動機異常噪音和振動繼續運行,會造成發動機不可修復的故障或其他故障。
停止發動機時
1) 在停止發動機時,空轉5 分鐘再停機。
1) 在重負荷運行后,如果發動機突然停止,熱量將從灼熱的渦輪葉片傳到軸承部件引起油燃燒而造成軸承金屬和旋轉軸卡塞。
5.3.5. 例行檢查和維護(Routine inspection and maintenance)
因為渦輪增壓器的狀態在很大程度上依賴于發動機的維護狀況,進行以上規定的檢查
是完全必要的。
1) 進氣系統(Intake system)
在進氣系統中,要特別注意空氣濾清器。在使用通油型濾清器時,如果油位低于規定值,清理的效果會很差;如果油位高于規定值,吸入的油會污染機殼。尤其是,如果轉子被污染,調整好的平衡會發生偏差引起振動,從而造成卡塞或在軸承上負載巨大的力造成的異常磨損,必須經常使用適宜的空氣濾清器。在使用干型濾清器的情況下,根據灰塵顯示器的指示,必須進行清理盡可能減小進氣阻力。
2) 排氣系統(Exhaust system)
在排氣系統,必須注意預防漏氣和氣流不暢,如果排氣管道和渦輪增壓器等發生排氣泄漏,供料效果就會降低,必須特別注意各部件的安裝狀態。因為在運行過程中要達到高溫的部件,如:渦輪機室使用的耐高溫螺母,應特別注意不能與普通螺母混放,同時應在螺母的指定位置上涂防銹漆。
3) 潤滑系統(Lubricating system)
在潤滑系統,必須注意油的質量和換油周期。發動機渦輪增壓器的油變質對渦輪增壓器產生不好的影響,對發動機的影響就更不用說了。安裝了渦輪增壓器的發動機建議使用以下發動機潤滑油:

5.3.6. 定期維修(Periodical servicing)
要把定期檢測渦輪增壓器總成的狀態和污染情況作為一項常規工作。
1) 轉子轉動狀態的檢測指南
應該根據異響的程度檢測轉子總成的轉動狀態。如果使用聲音檢測條,將它的觸點安裝在渦輪增壓器的外殼上,并且慢慢地增加發動機的轉動速度。持續聽見很大的響聲,說明轉子總成運轉不正常。這時,金屬軸承和轉子可能狀態異常,應該更換或維修渦輪增壓器。
2) 檢查轉子軸向間隙
從發動機上拆下渦輪增壓器,然后檢查轉子軸向間隙或徑向間隙。拆下發動機時,確保塞好進油和出油端口。
(1) 轉子軸向間隙

(2) 轉子徑向間隙

(3) 如果軸向間隙和徑向間隙磨損嚴重,更換或修理渦輪增壓器。
3) 渦輪增壓器拆卸/清潔與檢測指南
首先,把渦輪增壓器從發動機上拆下,將進油口和出油口用密封帶等封起來,進行清潔或檢測。
4) 重新安裝渦輪增壓器到發動機的注意事項
在重新組裝渦輪增壓器或進行安裝后的操作時,注意如下防范事項:特別注意防止外界物質進入渦輪增壓器。
(1) 潤滑系統
� 重新組裝渦輪增壓器到發動機之前,在進油口重新注油,以手動旋轉方式潤滑軸頸和止推軸承。
� 不但清洗安裝于發動機與入油口之間的管子,還要清洗輸油管且檢查是否有損壞或異物。
� 安全地安裝油管的連接點防止漏油。
(2) 進氣系統
� 檢查進氣系統內部是否有異物。
� 小心安裝進氣管和空氣濾清器的每一個連接以防止漏氣。
(3) 排氣系統
� 檢查排氣系統內部的異物。
� 一定要用耐熱鐵螺桿和螺母。重新組裝時不要用普通的鐵螺桿和螺母將其替換。使用有防鍍層的螺桿和螺母。
� 小心地檢查排氣管的連接點防止漏氣。
5.3.7. 故障診斷和維修(Diagnostics and troubleshooting)
故障 可能的原因 維修
1) 空氣濾清元件堵塞更換或清洗
2) 排氣管堵塞檢測并修正
3) 進氣歧管泄漏檢測并修正
4) 渦輪增壓器型號偏大,不運轉拆卸/維修或更換
5) 渦輪的葉片和壓縮機的葉片互相碰撞或已損壞
拆卸/維修或更換
1. 大量黑煙
6) 排氣管變形或堵塞檢測并修正
2. 大量白煙 1) 燃油泄漏,進入了渦輪和壓縮機 拆卸/維修或更換
2) 由于軸承過度磨損造成密封環的磨損或
損壞
拆卸/維修或更換
1) 排氣系統的各個部分漏氣檢測并修正
2) 空氣濾清器元件堵塞更換或清洗
3) 渦輪增壓器污染或損壞拆卸/維修或更換
3. 發動機低輸出
4) 壓縮機一邊的出口泄漏檢測并修正
1) 轉子總成互相干擾拆卸/維修或更換
2) 轉子運轉不平衡拆卸/維修或更換
3) 型號偏大拆卸/維修或更換
4. 異響或震動
4) 連接處松動檢測并修正
5.4. 空氣濾清器(Air cleaner)
韓國斗山大宇發動機空氣濾清器的維護(Maintenance of air cleaner)
(僅在發動機關閉時)
按規則清空灰塵罩(7),任何時候不要讓灰塵超過灰塵罩一半。頂住兩個卡子(3),灰塵罩就可以取出,取出蓋子(6)并清空。小心組裝蓋子和罩。罩子邊緣有凹槽和一個作標記用的耳片,它有明空氣濾清器是水平的,看清“頂部”位置,裝配濾清器罩。

5.4.2. 更換空氣濾清器元件(Changing air cleaner element)
注意:不要讓灰塵進入濾芯。
� 打開六角頭螺母,取下臟的濾清器濾芯更換或清洗。
� 用濕的布擦干凈空氣濾清器罩,特別是濾芯的密封面。

5.4.3. 清理空氣濾清器元件(Cleaning air cleaner elements)
� 用壓縮空氣(帶護目鏡)
- 氣槍應安有彎曲成90°的氣嘴,氣流可吹到濾芯的內面底部。
- 氣槍上下移動,吹濾芯內部,直到沒有灰塵從濾芯褶中吹出為止(氣壓最大5bar)。

� 清洗
- 清洗前,應按如上所述用壓縮空氣預清洗。
- 再將濾芯在微溫的洗滌劑溶液中浸泡10 分鐘,再涮約5 分鐘。
- 在干凈的水中徹底漂洗,甩干或在室溫下自然吹干,濾芯在安裝前必須是干的。
- 不要用蒸汽、柴油(汽油)、堿液或熱水等清洗空氣濾清器濾芯。

� 用手敲打出臟物
- 在緊急情況下,當沒有壓縮空氣或洗滌劑可用,可以用拇指臨時敲擊濾筒底部來清除濾芯中的臟物。
- 不管在任何情況下,不要用硬東西打或敲濾清器硬的表面,使臟物松落。

� 檢查空氣濾清器濾芯
- 在重新安裝濾芯前,一定要檢查濾芯損壞與否,如紙褶、襯墊或金屬套上的膨脹卡和凹槽等。
- 在任何情況下,損壞的濾芯不能再使用。假如有懷疑,就丟掉舊的,換上新的。
5.5. 韓國斗山大宇發動機皮帶(Belt)
皮帶在每運行2,000 小時后,應進行張力檢查。
(1) 如需要更換皮帶(Change the belts if necessary)
在多皮帶傳動的情況下,如果發現磨損或不同的張力,通常更換整套皮帶。
(2) 檢查條件(Checking condition)
檢查皮帶有無裂紋、油污、過熱和磨損。
(3) 手工檢測(Testing by hand)
� 皮帶
如果在皮帶切線和皮帶輪當中施加偏差力“F”,皮帶拉緊調整適度。

6. 特殊工具目錄(Special Tool List)
1. 發動機總成視圖 DV11 – 卡車

2. 發動機總成視圖 DV11 – 公共汽車
