CAT C15和C18發動機轉速/正時傳感器

|
卡特CAT發動機300-9804轉速傳感器總成的技術規格 | |||
|
項目 |
數量 |
零件 |
技術規格說明 |
|
- |
- |
- |
用潤滑劑將要密封的O形密封圈稍加潤滑。 |
|
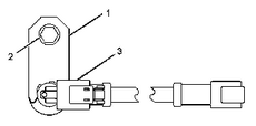
1 |
1 |
133-0261支架 |
確保支架是按照正確朝向安裝的。請參閱圖1以了解支架的朝向。 |
|
2 |
1 |
- |
將M8螺栓擰緊至扭矩為 |
|
3 |
1 |
192-1562轉速傳感器 |
擰緊螺栓(2)前,確保傳感器已就位。 |
沃爾沃柴油發電機維修 ,奔馳柴油發電機維修,cat 柴油機維修,沃爾沃D12C發動機大修