Perkins珀金斯柴油發動機活塞和連桿-組裝


組裝步驟
1確保所有部件清潔、無磨損或損壞。如有必要,更換所有磨損或損壞的部件。

2如果繼續使用原有活塞和活塞環,按照步驟2.a至步驟2.e將活塞環安裝到活塞中。
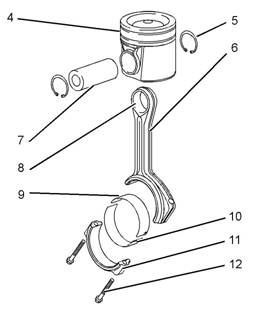
a.將控油環(3)的彈簧放置到活塞(4)的控油環槽中。中心線必須位于彈簧端部以內。
b.定位控油環,使“TOP”字樣處于朝上位置。使用工具(B)將控油環(3)安裝到活塞和彈簧上。
注:確保中心線距活塞環間隙180度。
c.使用工具(B),將中間壓縮環(2)安裝到活塞(4)的第二道環槽中。“TOP”字樣應朝上。內表面上的倒角必須朝下。
d.使用工具(B)將頂部壓縮環(1)安裝到活塞(4)的頂環槽中。“TOP”字樣應朝上。
注:確保安裝的頂部活塞環上的倒角(W)處于朝上位置。
e.定位活塞環,使其間隙彼此之間相隔120度左右。
注:提供的新活塞組件配有新活塞環。


3.如果更換了連桿組件(6),襯套(8)和活塞銷(7),請參閱《技術規格》,“連桿”以了解更多信息。
4使用清潔的發動機機油潤滑連桿中活塞銷(7)的襯套(8)。使用清潔的發動機機油潤滑活塞(4)中的活塞銷孔。
5將活塞(4)頂部朝下放置在適當的表面上。將連桿(6)的鍛造標記(X)定位到活塞上的方形凸臺(14)。確保連桿上的槽(13)正確定位。請參閱圖224。
6將活塞銷(7)安裝到活塞(4)上。
注:如果活塞銷用手不能安裝,加熱活塞至溫度為45°±5°C(113°±9°F)。
7.使用工具(A)將卡環(5)安裝在活塞(4)的活塞銷孔中。
注:確保卡環座入活塞的環槽中。
8.將上軸瓦(9)安裝到連桿(6)上。確保軸承上軸瓦的定位凸舌正確座入連桿的槽(13)中。
9.將下軸瓦(10)安裝到連桿蓋(11)上。確保下軸瓦的定位凸舌正確座入連桿蓋的槽中。
10放置斷面分裂式連桿時必須要安裝連桿蓋。從發動機上取出組件后,暫時將連桿蓋(11)和螺栓(12)安裝到連桿(6)上。確保連桿蓋與連桿上的蝕刻編號相互匹配。確保連桿蓋的朝向正確。上下軸瓦的定位凸舌應在同一側。擰緊螺栓(12)至扭矩為20N·m(177lbin)。
11.對于其余的活塞和連桿組件,重復步驟2至10。
結束:a.安裝活塞和連桿。有關正確的步驟,請參閱《拆解和組裝》,“活塞和連桿-安裝”。
Perkins珀金斯柴油發動機活塞和連桿-安裝
安裝步驟

注意廢棄所有舊的連桿緊固件。
1.如果已暫時安裝連桿蓋,拆卸連桿蓋。如有必要,徹底清潔所有部件。
2.用清潔的發動機機油涂抹缸孔,活塞環,活塞的外表面和軸瓦(連桿)。
注:執行間隙檢查時,安裝干燥的連桿軸瓦。有關正確步驟,請參閱《Perkins柴油機Perkins柴油機拆解和組裝》,“軸承間隙-檢查”。最終組裝期間,將清潔的發動機機油涂覆在連桿軸瓦上。
注:確保已將活塞和連桿組件安裝在正確的氣缸中。
3.使用工具(A)轉動曲軸,使曲軸銷在下止點位置。使用清潔的發動機機油潤滑曲軸銷。

4.將工具(B)安裝在活塞(4)上。
注:確保將工具(B)安裝正確,活塞(4)能順利地從工具滑出。
注:連桿軸瓦的定位凸舌和活塞冷卻噴嘴必須在發動機的同一側。
5.小心地將活塞和連桿組件推入缸孔中,推到曲軸銷上。
注:不要損壞曲軸銷的精加工表面。

6.將連桿蓋(2)安裝到連桿(1)上。
注:確保連桿蓋(2)位置(X)與連桿(1)位置(X)上的蝕刻編號相互匹配。確保連桿蓋(2)的朝向正確。上下軸瓦的定位凸舌應在同一側。
注:請勿重復使用舊螺栓來固定連桿蓋。
7.將新螺栓(3)安裝到連桿(1)上。使用工具(C)均勻擰緊螺栓至扭矩為40N·m(30lbft)。
8.順時針再轉動螺栓120度。使用工具(C)和工具(D)以獲得正確的最終扭矩。
9.確保連桿組件安裝后有能感覺到的側隙。轉動曲軸,確保沒有卡滯。
10.重復步驟2至9,安裝其余的活塞和連桿。
結束:
a.安裝活塞冷卻噴嘴。有關正確的步驟,請參閱《拆解和組裝》,“活塞冷卻噴嘴-拆卸和安裝”。
b.安裝缸蓋。有關正確的步驟,請參閱《拆解與組裝》,“氣缸蓋-安裝”。