卡特彼勒柴油發動機系統操作測試與調整
G3500型發動機
卡特彼勒裝配電子點火系統的發動機
重要安全信息
在產品操作,維護和維修中所發生的事故大多數是由于沒有遵守基本的安全守則和預防措施而造成的。如果在事故發生前就能夠意識到可能發生的危險,就會避免事故的發生,因此使用者一定要對潛在的危險保持警惕,同時,還應當接受必要的培訓,獲取所需技能和利用適當工具來進行正確操作。
對本產品不恰當的操作,潤滑,維護和維修都會引起潛在的危險,并可能導致傷殘或死亡。
在沒有閱讀并完全理解本產品的操作、潤滑、維護和維修的相關信息之前,千萬不要對本產品進行任何有關潤滑、維護或維修的操作。
此手冊包含本產品的的安全防護措施和注意事項。如果忽略這些注意事項,很有可能對操作者及它人造成傷害,甚至導致死亡。
危險用“安全警告”標志出來,其后通常有類似“警告”這樣的詞語,如下圖所示:
![]()
“安全警告”標志的意思如下:
注意,警惕,注意您的安全
在警告下面的信息對危險情況以文字和圖畫的形式進行了說明。
本手冊中也包括了對可能引起產品損壞的操作的說明,這類操作用“注意”標簽進行標明。
Caterpillar不能夠預料每個可能存在的危險情況,所以,本手冊中和在產品上所有的警告并沒有包括所有的可能情況。如果使用某種未被caterpillar所推薦使用的工具、程序、工作方法或操作技術,必須首先確保它對于操作者和其它人都是安全的,同時,您也應確保本產品不會由于您所選擇的操作、潤滑、維護和維修程序而損害或降低安全性。
本手冊中的信息、規范和圖解在編寫時所得到的信息的基礎上進行編制的。所有的規范、轉矩、壓力、度量、調整、證明和其它項目都會隨時變化,這種變化可能會影響本產品所提供的服務。應該在所有的工作開始之前獲取完備的最新的信息,Caterpillar經銷商會擁有所有可得到的最新的信息,要得到當前已得到信息的列表,請參考服務手冊內容縮微膠片,REG1139F。
規范:
注釋:圖例的規格請參照3500發動機附件,SENR6417,如果SENR6417的規格與系統操作中測試&調節部分不一樣,就請察看每本書封面的打印日期,要使用本書中最新的規格標準。
如果左邊的頁邊空白處有C的標記,它意味著與以前的版本有所改變。
系統操作
3161調速器
更多的信息請參照Caterpillar3161調速器服務手冊SENR3028。

3161發電機組調速器
(1)手動速度控制設定
(2)調速電機頭
(3)外部降速調節
3161調速器是一種可以檢測發動機轉速并通過機械聯動裝置與化油器相連的液壓機械裝置。它可以控制化油器中生成的油氣混合物的速率。油氣混合物從入口進入氣缸并燃燒以維持發動機的運轉。
調速電機位于化油器的表面,工作電壓是24伏直流電壓。當調速電機發動時,它會通過旋轉一個速度調節螺絲來調整調速器的速度調節杠桿的位置。
位于調速器前端的滑槽速度設定裝置能夠改變發動機的轉速。順時針旋轉速度設定裝置可以提高設定速度,逆時針旋轉則會降低所設定的速度。另外設定最高和最低速度來限定速度調節范圍。
當發動機速度發生變化時,可以根據需要通過降速調節系統來調整其穩定性。
無論處于燃料開還是關的位置,3161調速器的最大輸出轉矩都是8牛.米,終端軸的最大旋轉角度為42度。因為調速器的終端軸可以通過液壓向其中任何一個方向移動,所以在調速器的外部沒有使用回程彈簧。當調速器處于關閉狀態時,一個處于其內部的力矩為1.4牛米的彈簧將會把終端軸移動到完全關閉的位置。
終端軸從空閑狀態到滿負荷時的推薦旋轉角度為30度,這使得調速器在兩端有富裕的旋轉角度,從而可以完全關閉以及根據需要添加最大限度的燃料。
3161調速器同發動機的潤滑油系統相連,通過內部通道和出口流出的潤滑油(在壓力下)被送入到調速器,調速器使油量保持在正確的水平上并將多余的潤滑油抽回發動機,這樣在調速器中就會有潤滑油的持續流動。
在調速器被移動或者大修后,重新使用它前必須注入大約1.8升(2夸脫)的清潔機油,注油塞位于3161調速器的表面。

3161調速器示意圖。(處于添加燃料位置)
3161調速器的操作
更多的信息請參照Caterpillar3161調速器服務手冊SENR3028。
以下的系統操作應用請參照3161調速器示意圖。此圖列示了調速器在增加燃料位置的導向閥。
3161調速器將發動機潤滑油應用于其液壓系統。潤滑油(通過壓力)通過一個小孔被送入到調速器的儲油器,而這個小孔可以自調速器上拆除下來進行清洗。當發動機旋轉驅動軸時,潤滑油從內部通道進入抽吸裝置一側,隨后進入泵的壓力側。一個緩沖彈簧和活塞將泵的壓力大約保持在690千帕(10psi)。緩沖彈簧在氣缸中向上移動,直到泵的壓力達到690千帕(100psi),這個時候,活塞上的閥門將被開啟以控制壓力。
泵壓由緩沖裝置設定,它控制著調速器的工作輸出。
增加設定速度
當順時針旋轉速度設定軸時,調速器的設定速度將會增加。高位空置螺絲限制了調速器速度所能設定的最大值。當轉動速度設定軸時,速度設定杠桿將向下推動固定在調速塞上的移動杠桿。作用在調速塞上的向下的壓力使得調速彈簧受到擠壓,這將使彈簧的壓力變的大于球狀飛輪所產生的離心力,因此球狀導向閥活塞會向下移動。整個過程將改變調速器的速度設定。
當導向閥活塞向下移動時,處于壓力下的由會在動力活塞下面移動并推動活塞上升,這樣將向上推動終端杠桿并將輸出軸向增加燃料的方向旋轉,最終增大發動機的速度。
在發動機被設定新的轉速之前,回程系統會將導向閥活塞移回到其所處的中間位置,使得調速器處于下面所屬的穩定控制之:
在動力活塞之上的油同緩沖活塞上邊及導向閥回程墊的下面相同。當動力活塞向上移動時,油壓會推動緩沖活塞向下移動并增大緩沖活賽下邊的彈簧的壓力。這個彈簧會給活塞施加一個與其運動方向相反的力,從而導致緩沖活塞上部的油壓會有小幅度增加。更大的壓力也會傳導至導向閥回程墊的下面,從而將導向閥活塞上推向其中間位置。這將阻止潤滑有向活塞下邊流動,從而停止活塞的運動。
當導向閥活塞回到其中心位置,而且動力活塞停止運動時,由會通過針狀閥門的開口流出,這樣在導向閥上面和下面的油壓將趨于一致,導向閥活塞的移動會停止,從而發動機會回到一個穩定的狀態。當回程墊上下壓力一致時,緩沖彈簧會使緩沖活塞移動到其中心位置。
注釋:在增加或降低發動機負載時,調速器的運轉同增加或減少調速器速度設定時相似。
關閉
限定/關閉導向閥位于由泵到球狀導向閥的供油通路上。當發動機關閉系統被啟動時,限定/關閉杠桿將限定/關閉導向閥活塞推動到供油路線下,這將會把油引入到球狀導向閥活塞。動力活塞下面的油現在通過導向閥活塞的控制墊排出,于是動力活塞會向下移動,輸出桿會向“減少燃料”方向旋轉。當發動機降低轉速時,球狀飛輪將移入,從而降低球狀導向閥。這時,在動力活塞下面的潤滑油會以更快的速率流入到調速器的集油槽中。當動力活塞持續向下移動時,輸出杠桿會移向關閉位置,一直到發動機停止運轉。
燃料系統
電動調速器
電動調速器控制系統包括EG-3P傳動器和磁性拾波器。電動調速系統可以精確的控制發動機的轉速,此系統可以實時測量發動機轉速并通過一個與燃料系統連接的傳感器來對發動機的燃料設定進行必要的修正。

磁性拾波器可以感知發動機的轉速。這個加速器會向發動機控制系統發送一個直流電壓,控制系統將會送出一個交流電壓至傳動器。

傳動器會改變發動機控制系統傳送至動力輸出裝置的電流輸入,而動力輸出裝置通過聯動裝置與燃料系統相連。例如,當發動機速度高于設定速度時,其控制系統會降低它的輸出,傳動器也會通過聯動裝置減少發動機使用的燃料。
EG-3P傳動器

EG-3P傳動器
EG-3P傳動器是一種電動機驅動裝置,它通過液壓來改變向機械輸出裝置(終端軸旋轉)的電流輸入以控制發動機的燃料供給架或化油器。
傳動器的終端(輸出)軸的位置與輸入傳動器的信號直接相關,當沒有輸入信號是,傳動器一般會將燃料供給控制在最小量。
電動控制系統的輸出信號是某一數值的電壓,這個電壓可以決定傳動器的終端軸的位置,從而可以使發動機維持一個特定的負載。電壓通常具有相同的極性,這種控制單元需要傳動器的輸出軸位置與輸出信號的電壓成一定比例相關。
傳動器中最重要的元件是一個通過極性螺形線圈的運動來控制油流向或流出動力活塞的電動液壓變壓器。傳動軸的位置取決于控制液壓導向閥活塞的螺形線圈的輸入電流。
EG-3P傳動器的操作步驟如下:
驅動軸旋轉速率在1200到3600rpm之間,它只能向一個方向旋轉,旋轉方向由傳動器的基座和機箱的油道中的塞子的位置決定。解壓閥被移植入傳動器以保持油壓在供給壓力以上大約2400千帕(350psi)。
發動機潤滑油從發動機內部的一個儲油槽中進入油泵的抽吸側,油泵的傳動裝置會將油送入到它的壓力側。首先油會充滿通道,而后液壓會增大,當壓力變得足夠大從而能夠克服解壓閥彈簧的力量時,它將向下推動解壓閥活塞而移去旁邊管道的蓋子,油便會通過泵的入口側回流。
兩個活塞的相對運動將會轉動傳感器的終端軸,而發動機的燃料傳動裝置被固定在終端軸上,油泵直接將油送入到負載活塞的下面,在液體環路中的壓力經常會使終端軸向“減少燃料”的方向移動。
因為連接負載活塞和終端軸的聯動裝置比連接動力活塞和終端軸的聯動裝置短,所以只有動力活塞向下移動時,負載活塞才能向上移動。僅當動力活塞下的潤滑油能夠流入到儲油槽中時,活塞才能向下移動。
潤滑油流向和流出動力活塞都由導向閥活塞控制,當導向閥活塞處于中間位置時,不會發生油的流動。當導向閥活塞的控制墊恰好蓋住控制口時,它才會處于中間位置。
兩個力中較強的一方會推動導向閥活塞向上或向下移動,當這兩個力相等時,活塞不會移動。
導向閥活塞與一個永磁體相連,而永磁體是通過彈簧懸掛在兩個線圈形成的磁場之中的。從電動控制箱中發出的輸出信號被傳送到螺型線圈上從而產生力,這個力與傳送到線圈上的電流強弱相關,它將磁鐵及導向閥活塞向下移動。
彈簧產生的力量使導向閥活塞和磁鐵向上移動。這個壓縮彈簧位于螺型線圈所在的箱體的底部,它一直向導向閥活塞施加一個向上的力,拉伸彈簧向導向閥活塞施加一個向下的力,這個力取決于拉伸杠桿的位置。拉伸杠桿向上移動以減小拉伸彈簧的力量,同時終端軸向“增加燃料”的方向移動。這兩個彈簧的合力是一種將導向閥活塞向“上”移動的力,當終端軸向“增加燃料”的方向移動時,這個合力將會增加。

EG-3P傳動器示意圖
如果這個裝置在穩定狀態下勻速運行,彈簧合力與螺形線圈中電流產生的力大小相等,方向相反。
當這個裝置在穩定狀態下勻速運行時,導向閥活塞處于中間位置。輸入到螺形線圈中的電壓的減小(由于降低設定速度或減輕負載)會縮減其產生的力而使導向閥活塞下降。但這個時候由于彈簧所產生的力不變,因此超過另外那個反方向的力從而推動活塞離開其中間位置。當潤滑油自動力活塞下流出時,終端軸轉向“減少燃料”的方向。當終端軸轉動到新的燃料需求位置時,拉伸彈簧力所增加的數量將同螺型線圈中電流產生的向下的力的減小數量相等,于是作用到導向閥活塞上的力會成為平衡力,它又將被推回到中間位置。
當輸入到螺形線圈中的電壓信號增加時(由于加重負載或增加設定速度),發生的情況剛好與前一種相反。這時,來自線圈的向下的力將增大,推動導向閥活塞向下移動,動力活塞與拉伸杠桿上移,從而減小拉伸彈簧產生的向下的力。當終端軸轉動到新的燃料需求所需位置時,拉伸彈簧力所增加的數量將同螺型線圈中電流產生的向下的力的減小數量相等,于是作用到導向閥活塞上的力會成為平衡力,它又將被推回到中間位置。
基本機械系統
動力活塞同傳動器的終端(輸出)軸相連,發動機的燃料架聯動裝置也與終端軸相連。當發動機的負載發生改變時,動力活塞的運動會轉動終端軸,聯動裝置將使燃料架移動到新的設定之上,從而與新負載條件下的發動機速度保持一致。
基本電子系統
在飛輪箱內安裝了一個磁性拾波器用來生成直流電壓信號,這種直流信號的頻率由通過加速器所產生的磁場的齒輪輪齒的速度所決定。這種發動機速度頻率信號被送至電動調速器控制系統。控制系統中有一個速度傳感器用于比較輸入信號所顯示的發動機實際速度與先前設定的期望速度有何不同。當實際速度與先前設定不一致時,控制系統會向傳動器中的螺形線圈輸入一個修正后的交流電壓,傳動器會根據修正改變燃料設定以使發動機速度與預定的一致。
導向閥活塞同一個用彈簧懸掛在兩個線圈產生的磁場中的永磁體相連,控制系統的輸出信號輸入線圈后,線圈產生的磁力會隨著其中電流的改變成比例變化。這個力一般會向下推動磁鐵和導向閥活塞(增加燃料方向),壓縮彈簧(位于活塞上方)所產生的力一般會向上推動磁鐵和導向閥活塞(減少燃料方向)。
當此裝置在穩定狀態下勻速運行時,兩個力大小相等,方向相反。這是導向閥活塞將處于中間位置(控制墊)蓋住了控制口。
如果降低發動機的設定速度,或者發動機速度增加(因為其負載降低),輸入到傳動器螺形線圈中的電壓將會降低,與此同時線圈所產生的磁力也會降低,因為現在壓縮彈簧的力要大于線圈產生的力,導向閥活塞將從中間位置向上移動。這會使動力活塞下面的油被吸入到儲油槽中。動力槽的下移也會引起終端軸向減少燃料方向旋轉。
如果增加發動機的設定速度,或者發動機速度降低(因為其負載增加),輸入到傳動器螺形線圈中的電壓將會增大,與此同時線圈所產生的磁力也會增加,因為現在壓縮彈簧的力要小于線圈產生的力,導向閥活塞將從中間位置向下移動。
因為動力活塞的下表面(液壓作用于其上)面積比上表面大,所以活塞將向上移動。終端周將向增加燃料的方向旋轉。
基本液壓系統
動力活塞是參與傳動器中所有活動的一部分。在一般情況下,作用在活塞頂部和底部的兩個油壓相平衡,活塞便在中間位置保持固定不動。導向閥活塞控制著油流向或流出活塞。當活塞處于正中心位置時, 導向閥活塞底部的控制墊的大小恰巧能完全覆蓋住導向閥活塞的控制口。
如果控制系統中輸出的信號使導向閥活塞向上移動,動力活塞下面的潤滑油會通過控制墊進入儲油槽,作用在活塞上面的更大的液壓會向下推動活塞,直到控制墊的活塞重新蓋住控制口。活塞的運動將移動終端軸(向減少燃料的方向),因為它們是連接在一起的。
如果控制系統中的輸出信號使導向閥活塞(以及控制墊)向下移動,液壓會通過控制口傳到活塞底部。即使活塞上面和下面的油壓是相等的,活塞仍然會向上移動。這是因為活塞下表面的受力面積比上表面大的緣故。這時,活塞的運動將使終端軸向“增加燃料”的方向旋轉。
c Proact傳動器

Proact傳動器是一種具有有限角度的轉矩電機,它被專門設計用來控制發動機的燃料供應。轉矩電機是一種“運轉-停止”設備,它在全速下感知位置錯誤并進行調整,直到位置回復,使得電子控制設備改變電流信號至理想狀態。這時的傳動器速度很高,同時在控制發動機方面也異常精確。
Proact使用四柱轉矩電機,這種電機被設計為在穩定狀態下提供3.0牛米(26.55lb In)的轉矩,輸入電流為6安培,電壓24伏特;在轉換情況下轉矩為5.0牛米(44.25lb in),輸入電流為10安培,電壓24伏特.
當傳動器自一理想位置移動時,由于其所受阻力,它將保持在一個穩定的位置。任何將傳動器自理想旋轉位置移動的力將立刻被另外一個力所抵消,從而使傳動器維持在先前的位置。
傳動器內部裝有阻動彈簧,它可以使傳動器向兩邊多旋轉3度。這個彈簧對于停止回轉輪的旋轉和防止慣性對于傳動器的損害是非常必要的。在設計聯動裝置或連接到蝶形軸時,一定要考慮向兩個方向多旋轉的3度。
傳動器的輸出軸與蝶形閥或燃料控制軸相連,連接方式或者是直接通過一個無后座可伸縮聯軸節相連,或者是通過一個相互連接的杠桿和聯動裝置。安裝時應該盡可能多的利用傳動器的旋轉以便最大限度的利用它的動能。
注釋:
當使用可伸縮聯軸節時,必須注意聯軸節的最大偏移量不能超標,并且保證它的大小與負載相適合。
Proact傳動器有一個內部回程彈簧,它被設計用來在電動控制失靈或電源關閉的情況下將傳動器調至最小燃料位置。彈簧的長度可能不足以關閉發動機。
Proact傳動器運用了一個抗磁的位置傳感器,傳送到數字控制系統的位置反饋信號對于傳動器的精確度是非常重要的。
Proact傳動器的速度數字控制運用一個16字節微處理器來完成各項控制功能,所有的控制調整都由通過一系列接口與控制系統連接的手動終端或顯示來作出。當因為安全因素不提供服務時,終端/顯示同控制系統斷開。
潤滑系統
潤滑油雙向過濾系統

潤滑油雙向過濾器(控制閥位于主運轉位置)
(1).主過濾倉 (2).旁通管閥 (3).輔過濾倉 (4).手柄 (5).注油閥 (6).聯動裝置 (7).閥門控制軸

A-A部分
(8).主過濾管元件 (9).控制閥配件 (10).檢驗閥 (11).輔過濾管元件
潤滑油雙向過濾系統可以使發動機在任何速度運轉的情況下更換過濾管成為可能。
在進行普通操作時,控制閥應位于“主運轉”位置。潤滑油將通過主過濾倉(1)中的主過濾管(8)流出,過濾后的油會經檢驗閥(10)向右流并阻塞輔倉(3)內的油路。(如 A-A部分所示位置)。在這個位置,當油壓消失后,輔過濾管將被更換,輔倉會被抽空。
當手柄(4)被拉到“輔運轉”位置時,潤滑油會被輔助濾芯清理掉。過濾后的油會經檢驗閥(10)向右流并阻塞主倉內的油路。在這個位置,當油壓消失后,主過濾管將被更換,主倉會被抽空。
倉內的濾芯都被更換后,油會從一個過濾倉流向另外一個,而這個倉必須被重新注滿油。
不管向哪個倉內注油,都要將注油閥移到打開位置至少五分鐘,它將引導油通過一個細小的通道來注入空的過濾倉。
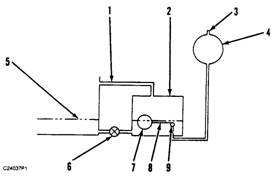
油面調節器

油面控制示意圖
(1)前倉排氣孔 (2)調節器 (3)排氣孔 (4)油源 (5)發動機的油盤 (6)閥門 (7)漂浮物 (8)旋軸 (9)閥門座
調節器被用于觀察發動機的油盤中油量。調節器底部的一個塞子可以被拔掉,一個外部供油通道與調節器倉相連,在調節器中的浮標控制著一個可以維持油盤內正確液面高度的閥門。
電子系統
電表和發送元件
因為電表與發送元件共同發揮作用, 所以將電壓與電阻的正確數值反映在電表上是至關重要的。下表表明了共同運轉的各部分。

水溫發送元件
