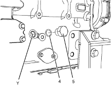
Perkins1106A/C發動機惰齒輪-拆卸 拆卸步驟 Perkins1106A/C發動機曲軸轉動工具用于前皮帶輪。 該工具在電動起動馬達的孔上使用。 開始: a.拆卸Perkins1106A/C發動機噴油泵齒輪。請參閱《Perkins1106A/C發動機拆解和組裝》,“Perkins1106A/C發動機燃油泵齒輪-拆卸”。 b.拆下Perkins1106A/C發動機氣門機構蓋。請參閱《Perkins1106A/C發動機拆解和組裝》,“Perkins1106A/C發動機氣門機構蓋-拆卸和安裝”。 注:可以使用兩個工具(A)中的任意一個。請使用最適用的工具。 注:必須小心操作,確保在Perkins1106A/C發動機燃油泵齒輪的拆卸過程 注意:保持所有零件清潔無雜質。雜質會造成快速磨損和縮短部件壽命。 1從Perkins1106A/C發動機缸體上拆下螺塞(5)。從螺塞(5)拆下O形密封圈(4)。 2使用工具(A)轉動Perkins1106A/C發動機曲軸,使1號Perkins1106A/C發動機活塞處于其壓縮沖程的上止點位置。請參閱《系統操作、測試和調整》,“查找1號Perkins1106A/C發動機活塞上止點位置”。 3將工具(B)安裝到Perkins1106A/C發動機缸體的孔(Y)中。使用工具(B),將Perkins1106A/C發動機曲軸鎖定到位。 注:安裝工具(B)時不要使用過大的力量。在修理過程中不要使用工具(B)固定Perkins1106A/C發動機曲軸。 4.確保已將工具(C)安裝在Perkins1106A/C發動機凸輪軸齒輪的孔(X)中。使用工具(C)將Perkins1106A/C發動機凸輪軸鎖定到位。 5.確保已標記齒輪(1)、(2)和(3)以便顯示對準位置。 6松開所有搖臂(8)上的螺母(7)。擰松所有搖臂(8)上的調節器(6),直到所有氣門完全閉合。 注:如果不能保證完全擰松所有調節器,可能會導致氣門與Perkins1106A/C發動機活塞接觸。 7.標記板(9)以顯示朝向。 注:識別標記能確保將板安裝在原來的對準位置。 8.拆下螺栓(10)。 9.拆下板(9)。 10.將Perkins1106A/C發動機惰齒輪組件(3)和輪轂(11)從前Perkins1106A/C發動機機殼體的凹槽上卸下。 注:在拆卸過程中必須傾斜Perkins1106A/C發動機惰齒輪。 11.將輪轂(11)從Perkins1106A/C發動機惰齒輪(3)上卸下。 Perkins1106A/C發動機惰齒輪-安裝 安裝步驟 Perkins1106A/C發動機曲軸轉動工具用于前皮帶輪。 該工具在電動起動馬達的孔上使用。 1如有必要,使用工具(A)確保1號Perkins1106A/C發動機活塞處于壓縮行程上止點。有關正確的步驟,請參閱《系統操作、測試和調整》,“查找1號Perkins1106A/C發動機活塞上止點位置”。 2確保已將工具(B)安裝在Perkins1106A/C發動機缸體的孔(Y)中。使用工具(B),將Perkins1106A/C發動機曲軸鎖定到位。 3.確保已將工具(C)安裝在Perkins1106A/C發動機凸輪軸齒輪(1)的孔(X)中。 4清潔Perkins1106A/C發動機惰齒輪(3),檢查Perkins1106A/C發動機惰齒輪有無磨損或損壞。有關更多資料,請參閱《技術規格》,“齒輪總成(前)”。如有必要,更換Perkins1106A/C發動機惰齒輪。 5清潔輪轂(11),檢查輪轂有無磨損或損壞。有關更多資料,請參閱《技術規格》,“齒輪總成(前)”。如有必要,更換輪轂。 6使用清潔的發動機Perkins1106A/C發動機機油潤滑輪轂(11)。將輪轂(11)滑入Perkins1106A/C發動機惰齒輪(3)。確保正時標記朝向Perkins1106A/C發動機惰齒輪前部。 7對準Perkins1106A/C發動機惰齒輪(3)與Perkins1106A/C發動機凸輪軸齒輪上的的正時標記。請參閱插圖135。將Perkins1106A/C發動機惰齒輪組件(3)和輪轂(11)安裝到正時箱的凹槽中。確保油孔(Z)靠近輪轂頂部。 注:在安裝過程中必須傾斜Perkins1106A/C發動機惰齒輪。確保對準輪轂中的孔與Perkins1106A/C發動機缸體中的孔。 8.清潔板(9),檢查板有無磨損或損壞。如有必要,更換板。 9.使用清潔的發動機機油潤滑板(9)。對準板(9)和輪轂(11)內的孔。將板安裝在原來的朝向。 10.安裝螺栓(10)。 11.拆下工具(B)和工具(C)。 注:拆下工具(B)和工具(C)之前,確保正時標記已對齊。 12.擰緊螺栓(10)至扭矩為44N·m(32lbft)。 13.使用工具(D)測量Perkins1106A/C發動機凸輪軸齒輪的端隙。有關更多資料,請參閱《技術規格》,“齒輪總成(前)”。 14.使用工具(D)測量Perkins1106A/C發動機惰齒輪與Perkins1106A/C發動機凸輪軸齒輪之間的齒隙。有關更多資料,請參閱《技術規格》,“齒輪總成(前)”。 15.使用工具(D)測量Perkins1106A/C發動機惰齒輪與Perkins1106A/C發動機曲軸齒輪之間的齒隙。有關更多資料,請參閱《技術規格》,“齒輪總成(前)”。 16.將新的O形密封圈(4)安裝到螺塞(5)上。將螺塞(5)安裝到Perkins1106A/C發動機缸體上。擰緊塞(5)至扭矩為21N·m(186lbin)。 17.使用清潔的發動機機油稍加潤滑所有的齒輪。 結束: a.安裝Perkins1106A/C發動機噴油泵齒輪。請參閱《Perkins1106A/C發動機拆解和組裝》,“Perkins1106A/C發動機燃油泵齒輪-安裝”。 b.調整發動機氣門間隙。請參閱《系統操作、測試和調整》,“發動機氣門間隙-檢查/調整”以了解正確程序。
正時標記的對準




正時標記的對準

